本公司该类产品拥有多种专利结构,可应用在各类AC 及 18V,20V DC 无刷冲击钻,能满足不同档次工具使用。
查看更多
可同时将工件做径向夹持与轴向后拉,使工件不上浮并紧贴座金基准面。
高刚性硬化处理的本体与原柱后拉机构,并经过轴孔精镗,确保夹持精度与耐用度。
查看更多
一款精度超高、持续性能绝佳的新一代液压卡盘
前所未有的精度,新一代的动卡巅峰
查看更多
1. 具体可调结构,可调精度≤0.005mm。
2. 所有零件均采用研磨工艺,产品稳定性更高,旋转灵活丝滑。
3.盘体采用QT500 优质球墨铸铁材料,耐用性高,使用寿命长。
4. 应用场景:适用于磨床,高精密数控车床及各种高精密加工设备。
查看更多
同心度≤0.02mm,重复精度≤0.01mm;
关键零件均采用研磨工艺,产品稳定性更高,旋转灵活丝滑;
盘体采用QT500优质球墨铸铁材料,耐用性高,使用寿命长。
应用场景:适用于磨床,高精密数控车床及各种高精密加工设备。
查看更多
1.锻钢盘体,高强度、高载荷、高转速。
2.卡爪、盘丝采用20铬锰(20CrMnTi)合金钢,抗冲击,更耐磨,使用寿命长。
3.全流程加工中心生产,德国瑞士检测设备,保证批量产品精度≤0.03mm。
查看更多
三鸥 Pro 高精度卡盘是三鸥最新推出的战略产品
三鸥 Pro 精度≤0.03mm(径向、端面、外圆)
查看更多








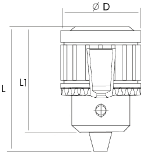
适用范围: 轻型、中型、重型便携式台钻或基钻连接电动工具。
1.高精密螺纹和圆锥孔紧密地连接在工具上。
2.外壳,锁孔,钥匙经过淬火。
3.夹爪特殊处理,具有良好耐磨性。
4.外壳齿轮和钥匙齿轮冷压成型。
5.精度准确可靠,持久耐用。
| 工厂编号 | 型号 | 夹持范围 mm | 连接尺寸 | D mm | L1 mm | L mm | 精度 | |
| 442000 | J2106W | 0.6-6.5 | 1/64-1/4 | B10 | 33.5 | 41.7 | 50 | 0.18 |
| 443100 | J2110W | 0.5-10 | 1/64-3/8 | B12 | 45.5 | 53 | 69 | 0.18 |
| 444200 | J2113W | 0.5-13 | 1/64-1/2 | B16 | 57 | 69.5 | 87 | 0.18 |
| 446300 | J2116W | 1.0-16 | 1/32-5/8 | B18 | 58 | 77.5 | 95 | 0.18 |
| 447400 | J2120W | 5.0-20 | 3/16-3/4 | B22 | 76 | 93.5 | 127 | 0.18 |
| 449500 | J2125W | 5.0-25 | 3/16-1 | B24 | 93 | 112 | 146 | 0.18 |
| 482100 | J2206W | 0.6-6 | 1/64-1/4 | JT1 | 33.5 | 41.7 | 50 | 0.18 |
| 483200 | J2210W | 0.5-10 | 1/64-3/8 | JT2 | 44.5 | 53 | 69 | 0.18 |
| 484400 | J2213W | 0.5-13 | 1/64-1/2 | JT33 | 57 | 69.5 | 87 | 0.18 |
| 484700 | J2213W | 0.5-13 | 1/64-1/2 | JT6 | 57 | 69.5 | 87 | 0.18 |
| 486300 | J2216W | 1.0-16 | 1/32-5/8 | JT3 | 58 | 77.5 | 95 | 0.18 |
| 487500 | J2120W | 5.0-20 | 3/16-3/4 | JT4 | 76 | 99.5 | 127 | 0.18 |
| 489600 | J2225W | 5.0-25 | 3/16-1 | JT5 | 93 | 112 | 146 | 0.18 |
Copyright © 2023 浙江三鸥机械股份有限公司 All Rights Reserved 浙ICP备2026027833号
设计&制作:新飞速网络